
Technical Data
MPRT-16
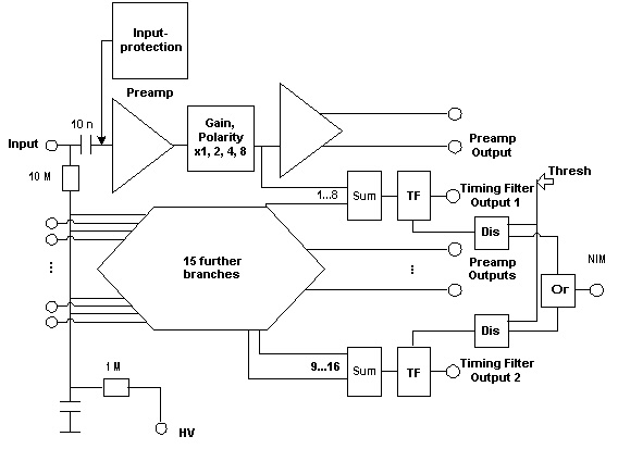
provides two timing filter outputs. The signals are generated from the sum of channel 1...8 and 9...16. The signals are negative and are scaled and polarized with the rotary switch setting. Output amplitudes: -1.5 V for maximum range in a single channel. The amplitude will vary to some extent with detector capacity and signal risetime. The timing filter default time constants are: integrating 250 ns, differentiating 450 ns.
MPRT-16 provides a NIM trigger output, which is the ored sum of its 4 leading edge discriminators, working each on the analog timing filter sum of 4 channels. Multiple discriminators are used to provide a high quality, low jitter NIM signal. The discriminators have a common threshold, which can be adjusted via 10- turn potentiometer. The threshold value is available at the sense output. -4.5 V correspond to 45 % full range of a single channel.