Detector Readout Systems
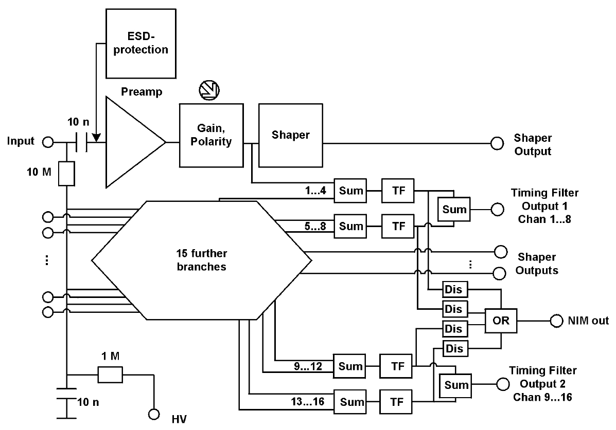
mesytec MPRS-16 includes 16 channels of charge sensitive preamplifiers, shapers, timing filter amplifiers and leading edge discriminators. It provides two timing filter outputs, where each is the sum of 8 channels. It also provides a NIM trigger output which is the ored signal of the discriminators. It is well suited for high resolution timing and ADC gate generation. The input polarity and sensitivity can be selected in 8 steps by a rotary switch. The shaper outputs are designed to connect directly to standard peaksensing ADCs. The modules are especially well suited for single or double sided multistrip silicon detectors.
Features
  • 16 channel compact module
  • Includes: preamplifier, shaper, timing filter
  • High quality discriminator output (NIM) for good timing resolution or data acquisition start, adjustable threshold
  • Sensitivity and polarity selectable with rotary switch in steps: 0.065, 0.1, 0.15, 0.2, 0.3, 0.5, 0.75, 1.0 * full range
  • Shaper output 10 V @ 1 kOhm, 1 us FWHM
  • Pulser input
  • Bias voltage up to ±400 V
  • Preamplifier input protection
  • PCB module available for vacuum use

Technical Data

For 50 MeV full range type (min 15 mVrms)

  • 7.0 keV Si + 0.085 keV /pF
  • maximum input capacity: 1000 pF (detector + cable)

For 150 MeV full range type (min 15 mVrms)

  • 10 keV Si + 0.10 keV /pF
  • maximum input capacity: 1000 pF (detector + cable)

 










© 2025 mesytec GmbH & Co. KG